时间:2025-08-01
拓享科技凭借其车库照明系列产品的卓越光学性能与创新结构设计,在市场竞争中取得了突出成果。据悉,该系列已成功获得多项实用新型专利授权,覆盖防眩光设计、散热优化及模块化结构等核心技术领域,构建起了车库灯系列产品全方位的知识产权保护体系。
核心技术专利介绍

一种回形车库灯
专利号:CN220436318U
申请日期:2023年8月22日

该专利采用环形光源布局,四周发光、中间无光源设计,有效解决了传统车库灯的眩光问题。配备双防水胶圈,防护等级达到IP65,适应潮湿环境。同时,集成功率与色温控制双模块,可根据环境自动调节光照参数,并采用倾斜式灯体与内部加强筋散热结构,提升散热效率。

一种便捷式圆形车库灯
专利号:CN221348863U
申请日期:2023年12月1日

该实用新型专利创新性地采用双重安装设计,支持吸顶安装和G3/4"吊杆安装双模式,适配不同建筑结构需求,提升安装效率。其PC罩内设棱纹结构,防眩光,并具备抗腐蚀、防UV、耐老化特性。此外,集成光感器和双调模块,可根据环境光线自动调节亮度,提升节能效果。该专利技术已应用于新一代车库照明产品。

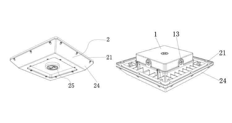
散热性能良好的多面发光车库灯
专利号:CN219867790U
申请日期:2023年5月8日

该专利突破了传统散热瓶颈,采用罩壳与电源盒间的散热鳍片和空气对流通道设计,散热效率提升50%,支持更高功率的稳定运行。其矩形罩壳各侧面均配置LED光源板,实现360°无死角照明,均匀照射。模块化结构使维护效率提升,并通过1000小时高温老化测试。

具备均匀发光特性的车库灯结构
专利号:CN221146347U
申请日期:2023年12月13日

该专利创新采用四边弧形透光设计,搭配环绕式LED面板,实现光线多向均匀扩散,提升光照均匀度。核心技术包括棱纹防眩光技术(内表面棱纹散射强光)、模块化安装系统(多模式固定位适配不同顶面结构)及智能调光功能(感光件联动调节亮度)。目前该技术已量产,适用于地下停车场、智能仓储等场景。
注:核心专利产品于2023年10月份在香港秋季国际灯饰照明展会上首次展出。
其他专利应用
新型车库照明灯具(专利号:CN222352168U):该专利技术已应用于新一代车库照明系统,通过可调节防眩光设计和双轴旋转结构,显著提升了视觉舒适度。在地下停车场和仓储照明场景中表现优异。
防眩光双面发光车库灯(专利号:CN221975138U):采用正反双LED面板设计,实现双向均匀照明,特别适用于大型地下停车场和立体车库。
外置感光车库灯(专利号:CN221146456U):革命性的模块化感光组件设计,使维护效率提升。该产品已通过严苛环境测试,主要面向需要频繁维护的停车场等场所。

双棱纹防眩光车库灯(专利号:CN219775537U):配合模块化设计和智能调光功能,该产品在商业综合体中表现突出,用户满意度显著提升。
拓享科技通过专利布局,不仅巩固了车库照明系列的市场优势,还为后续技术迭代提供了法律保障。此次专利成果的集中落地,展现了企业从研发到产业化的高效转化能力。未来,拓享科技将继续加大研发投入,进一步巩固和提升在该行业的技术领先地位,不断满足用户对高品质照明的需求。